Palais des ducs d'Aquitaine

Palais des ducs d'Aquitaine
Le palais des ducs d'Aquitaine en novembre 2005.
Présentation
Type
Propriétaire
Ville de Poitiers (d)
Usage
Patrimonialité
Localisation
Adresse
Place Alphonse Lepetit
Poitiers, Vienne
 France
Coordonnées
46° 34′ 58″ N, 0° 20′ 33″ E
Carte

Le palais des ducs d'Aquitaine et palais des comtes de Poitiers est un monument historique situé à Poitiers dans le département de la Vienne.

Ancien palais ducal d'Aquitaine[1],[2],[3],[4],[5],[6] et comtal de Poitiers[7], et plus récemment palais de justice, c'est un témoignage médiéval du style architectural gothique angevin[8].

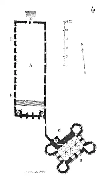
Le palais du XIIe siècle, remis en état et partiellement reconstruit par le duc de Berry à partir de 1380, se compose essentiellement de deux bâtiments séparés : une très grande salle de style gothique flamboyant, de 50 m de long, — appelée aussi historiquement aula et plus récemment « salle des pas perdus » —, et un donjon aussi appelé « tour Maubergeon », inachevé, de plan rectangulaire et défendu par quatre grosses tours rondes.

Le bâtiment, qui a tenu lieu de palais de justice de 1418 à 2019, est désormais un lieu de rencontres culturelles dédié à la valorisation de projets artistiques et à tous types d'événements.

Le palais est classé depuis 1862 au titre des monuments historiques. Le jardin entourant le palais a été classé en 1930 et certaines parties du sous-sol en 1957[9].

Histoire

Le palais carolingien

Le royaume d'Aquitaine avait été reconstitué par Charlemagne pour son fils Louis le Pieux. Un palais fut construit pour lui au IXe siècle à cheval sur la muraille romaine datant de la fin du IIIe siècle, sur le point le plus élevé de la ville. Le roi Louis y fit plusieurs séjours, et y revint une fois devenu empereur, en 839 et en 840. Il fut ensuite le siège des comtes de Poitiers. Ce premier état du palais a totalement disparu dans un incendie en 1018[10].

Le palais des comtes de Poitiers et ducs d'Aquitaine

À gauche, la Grande Salle et à droite, la tour Maubergeon.

Le donjon ou tour Maubergeon

Les comtes-ducs sont alors au faîte de leur puissance. Guillaume V d'Aquitaine, dit le Grand, fait tout reconstruire et agrandit son palais[10]. Des fouilles archéologiques récentes (2020-2023) mettent en évidence des maçonneries des XIe siècle - XIIIe siècle[11]. Le duc d'Aquitaine Guillaume IX (1071-1126) y ajouta un donjon vers 1104/1106, du côté de la ville, appelé « tour Maubergeon »[12]. En 1114, il y installa sa maîtresse officielle, Amauberge/Dangereuse de L'Isle Bouchard, dite familièrement « La Maubergeonne », épouse du vicomte Aimery Ier de Châtellerault[13],[14].

Le , à l'issue de la révolte de 1173-1174, Richard Cœur de Lion vint au palais ducal se soumettre à son père Henri II[15],[16].

Ce donjon rectangulaire, renforcé d'une tour à chaque angle, fut très endommagé avec la partie sud du palais lors de l'incendie allumé par le comte de Derby en 1346, lors de la chevauchée de Lancastre[17].

La grande salle

Entre 1199 et 1204[18], Aliénor d'Aquitaine fait bâtir la grande salle (parfois désignée par son nom latin, aula), qui remplace une salle plus ancienne. Les recherches archéologiques actuelles situent sa construction, plus vraisemblablement entre 1160 et 1190, avant même la mort de Richard Cœur de Lion, si l'on en croit la sculpture. Les sculpteurs de la nouvelle cathédrale Saint-Pierre de Poitiers travaillent aussi dans la grand salle. Elle est également dotée d'un nouveau portail aligné sur le pont roman (aussi appelé l'échelle du palais)[19],[20].

La chapelle

À partir de 1104, une chapelle dédiée à Saint-Vivien est construite dans l'enceinte du palais. Elle est mentionnée en 1146. La chapelle est détruite vers 1821-1824[19].

La reconstruction par le duc de Berry

Plan du palais, avec la grande salle et la tour Maubergeon. Dessin d'Eugène Viollet-le-Duc.

Le duc Jean Ier de Berry, qui était aussi comte apanagiste de Poitiers, reconstruit la partie du palais détruite par l'incendie de 1346. D'une part, le château et les remparts sont relevés ; d'autre part, les appartements privés sont reconstruits dans le style gothique flamboyant par l'architecte et sculpteur Guy de Dammartin ; enfin, on reconstruit son pignon sud en 1386 pour y aménager une estrade, trois grandes cheminée, en arrière de laquelle trois baies furent placées[18]. Ces travaux furent effectués de 1388 à 1416, pendant les trêves dans la guerre de Cent Ans.

Guy de Dammartin dota la salle de trois cheminées monumentales, ornée de sculptures de style gothique flamboyant. Une balustrade y fut ajoutée au XIXe siècle. Le mur sud de la salle fut remanié : il fut percé de grandes baies, devant lesquelles passent les conduits des cheminées, les masquant de l'extérieur, mais donnant l'illusion d'un grand fenestrage à l'intérieur. À l'extérieur, ce mur est orné de gâbles et de choux frisés. Le mur, surnommé à l'époque la belle cheminée de Poitiers[21], est un des premiers exemples du style flamboyant dont Dammartin est un des initiateurs. C'est également à lui que l'on attribue les quatre statues qui ornent le mur de la belle cheminée (elles furent longtemps attribuées à André Beauneveu). On y voit le roi Charles VI dit le Fol, la reine Isabeau de Bavière, Jean de Berry dont la statue a été fortement remaniée au XIXe siècle, et sa deuxième épouse Jeanne de Boulogne. Ces œuvres, témoignages exceptionnels de la sculpture française de la fin du XIVe siècle, ont été moulées et des copies sont désormais visibles depuis le printemps 2007 dans la grande salle.

Palais de Justice

C'est déjà dans la grande salle (aula) que les comtes-ducs rendaient parfois la justice.

Après le rattachement du Poitou au domaine royal, la « salle des pas perdus » devint la « salle du Roi », où s'exerçait la justice du roi. C'est ici aussi qu'Hugues X de Lusignan, comte de la Marche, vint défier publiquement Alphonse de Poitiers, frère du roi Louis IX, le jour de Noël 1241.

De 1418 à 1436, le parlement y siégea. Le , Jacques Cœur y fit amende honorable devant le roi, corde au cou, y entendit la sentence le condamnant à la prison jusqu'à paiement complet d'une amende. Les Grands Jours de Poitou s'y tinrent sept fois de 1454 à 1688 : il s'agit d'une juridiction exceptionnelle déléguée par le roi, pouvant juger toute affaire civile ou criminelle. Elle était mandatée de temps à autre pour remettre de l'ordre dans l'administration judiciaire d'une province et juger certains abus.

Laissée longtemps sans entretien, la grande salle se délabre fortement aux XVIIe et XVIIIe siècles. La gravure de Claude Chastillon la représente même ruinée. Le dessin de la collection Gaignières, de 1699, la représente occupée par des étals de marchands. À l'époque, on la visite pour y voir un crocodile empaillé accroché sur un des murs, ainsi que le relatent un grand nombre de voyageurs[22].

Le palais des ducs et des comtes devint le siège de la cour d'appel de Poitiers à partir de la Révolution, qui perpétuait ainsi sa fonction d'Ancien Régime. L'ancienne entrée, par « l'échelle du palais » étant devenue insuffisante, on commanda des transformations à l'architecte poitevin Vétault. Celui-ci fit une nouvelle façade sur l'ancienne place Saint-Didier[23]. Un escalier monumental sommé d'un portique dorique, image majestueuse que l'on voulait donner de la Justice à l'époque, lui fut ajouté en 1821 de même qu'une aile en retour d'équerre dont le style, courant à l'époque, s'inspire librement des palais romains du Cinquecento.

Les armoiries royales du fronton furent remplacées par la Charte de 1830 depuis la monarchie de Juillet. En 1852, le tribunal de première instance fut abrité dans cette aile. C'est également au XIXe siècle que les appartements privés construits au XIVe siècle furent démolis pour laisser la place à la cour d'appel et au greffe.

En 1870, il abrita la chambre criminelle de la cour de cassation.

Description

Le donjon ou tour Maubergeon

Reconstitution de la tour Maubergeon. Dessin d'Eugène Viollet-le-Duc.

La tour Maubergeon fut reconstruite à partir de 1408. Elle comporte une grande salle sous double croisée d'ogives, au rez-de-chaussée, éclairée de fenêtres à vitraux.

L'extérieur est orné au sommet de dix-neuf statues, dont seize subsistent : celles du duc et de son épouse Jeanne de Boulogne ayant disparu, il ne reste que celles de leurs vassaux, en habits de clercs.

Inachevé, le donjon ne possède ni l'étage de mâchicoulis, ni les dais couvrant les statues.

La Grande Salle

Restauration du palais de justice. Carte postale, début du XXe siècle.

La salle (50 × 16,85 m[18]) est l'une des plus vastes de l'époque en Europe, avec le Westminster Hall de Londres qui lui est apparenté. L’ancien « pont de la salle » du XIIe siècle existe encore dans les constructions modernes de l'actuelle rue du marché. La salle n'a pas de plafond, et on peut voir la charpente en châtaignier, construite en 1862 par les charpentiers de marine de La Rochelle.

Les murs de la salle sont ornés d'arcatures aveugles supportées par de fines colonnettes, avec une organisation différente selon le mur. Des têtes grimaçantes et des personnages ornent les culots des colonnes. Ce type d'ornement est fréquent dans l'art gothique dit « Plantagenêt » angevin, ou encore « gothique de l’Ouest ». On le retrouve à la cathédrale de Poitiers, édifice contemporain.

Les murs ont été enduits et peints au XIXe siècle de motifs imitant la pierre en grand appareil. Une banquette de pierre fait le tour de la salle.

Le palais au XXIe siècle, lieu artistique et culturel

2019 : l'année de transition

En 2019, le tribunal et la cour d'appel déménagent vers une nouvelle cité judiciaire située dans l'ancien lycée des Feuillants, au no 4 boulevard Maréchal-de-Lattre-de-Tassigny [24].

Le a lieu la signature de l'acte d'acquisition du palais par la ville de Poitiers en présence de Bruno Belin, président du conseil départemental de la Vienne, Isabelle Dilhac, préfète de la Vienne, et Alain Claeys, maire de Poitiers. L'acte devient officiellement effectif le .

Cette nouvelle page de l'histoire du palais est marqué par l'organisation d'un événement artistique et culturel créé autour du projet du quartier du Palais (du au ) : Traversées/Kimsooja[25]. Premier acte du projet, traversées a proposé pendant trois mois un parcours dans la ville, sous la forme d'un dialogue entre patrimoine et création contemporaine, en invitant artistes internationaux et acteurs du territoire. Mais il s'agit surtout de l'événement qui a permis aux habitants de Poitiers de découvrir ou redécouvrir le palais après le départ de la Justice qui y sera restée plus de 200 ans. Plus de 165 000 visites ont été enregistrées lors de cet événement, où plus de vingt artistes ont investi une quinzaine de lieux. Le palais s’affiche dès lors comme la porte d’entrée du territoire.

Depuis 2020

Dans l'attente de sa réhabilitation, le palais accueille des manifestations temporaires (concerts, conférences, expositions, combats d'escrime, etc.) et rend, depuis 2020, sa salle des pas perdus accessible tous les jours de l'année, comme une « place publique couverte » en cœur de ville. En parallèle de la réhabilitation, des fouilles archéologiques triennales sont entreprises à partir de 2020-2021[26] pour alimenter la réhabilitation du monument et approfondir la connaissance du site et plus largement de l'architecture civile médiévale. Le premier programme triennal (2020-2023) s'intéresse à la tour Maubergeon et au corps de logis qui lui est adossé[26]

Anecdotes

Une scène du film Jeanne d'Arc y fut tournée par Luc Besson.

La rue de l'Échelle-du-Palais, qui donne sur l'arrière du palais, est l'ancien accès côté ville de la forteresse médiévale. Le fossé était franchi par une échelle, d'où le nom. Elle servit longtemps de raccourci aux habitants du quartier, qui coupaient à travers la salle des pas perdus. Ce passage a été fermé à cause de vols dans les bureaux des greffiers, puis rouvert depuis 2020.

Jusque dans les années 1970, le jardin entourant le palais et la tour Maubergeon étaient entourés de grilles avec un portail en permettant l'accès. Ces grilles et le portail ont été réinstallées au no 120, route de Bignoux à Poitiers, où elles sont toujours visibles de nos jours.

Notes et références

  1. Martin Aurell, Aliénor d'Aquitaine, Souveraine femme, Paris, Flammarion, , 503 p. (ISBN 978-2-0804-6324-1), p. 25 et cahier iconographique
  2. Yannick Hillion, Aliénor d'Aquitaine, Paris, ellipses, , 525 p. (ISBN 9782340-003828), p. 246
  3. Le palais des ducs d'Aquitaine à Poitiers (Vienne), Culture et Patrimoine en Nouvelle-Aquitaine, (lire en ligne) https://www.culture-nouvelle-aquitaine.fr/patrimoine-et-inventaire/le-palais-des-ducs-daquitaine-a-poitiers-vienne/
  4. Éric Guilloteau, « Le palais des ducs d'Aquitaine à cœur ouvert », le Picton, n° 274, juillet-août-septembre 2023, p. 4.
  5. Ralph V. Turner, Aliénor d'Aquitaine, Paris, Fayard, , 485 p. (ISBN 978-2-213-66286-2), p. 25
  6. Jean Flori, Aliénor d'Aquitaine, La reine insoumise, Paris, Payot, , 544 p. (ISBN 2-228-89829-5), p. 36
  7. Nicolas Prouteau, « Poitiers – Le palais comtal de Poitiers et ses abords (ixe-xvie s.) », ADLFI. Archéologie de la France - Informations. une revue Gallia, (ISSN 2114-0502, lire en ligne, consulté le )
  8. Claude Andrault-Schmitt, « L'architecture « angevine » à l'époque d'Aliénor », dans Aurell 2004, p. 99-107
  9. Notice no PA00105653, sur la plateforme ouverte du patrimoine, base Mérimée, ministère français de la Culture.
  10. 1 2 Hillion 2015, p. 257.
  11. Prouteau 2024, p. paragraphe 5.
  12. Bénédicte Fillion-Braguet, « Poitiers. État des recherches en cours sur le palais des comtes », Bulletin Monumental, vol. 178, no 1, , p. 170–175 (DOI 10.3406/bulmo.2020.13808, lire en ligne, consulté le )
  13. Michel Dillange, Guillaume IX d'Aquitaine, Le duc troubadour., La Crèche, Geste éditions/histoire, , 189 p. (ISBN 2-84561-059-9), p. 103
  14. Flori 2004, p. 36.
  15. Stéphane William Gondoin, « Richard Cœur de Lion : La jeunesse d'un prince rebelle », Patrimoine normand, no 119, octobre-novembre-décembre 2021, p. 51-52 (ISSN 1271-6006).
  16. Jean Flori, Richard Coeur de Lion, Le roi-chevalier, Paris, Payot, , 598 p. (ISBN 9782228892728), p. 47
  17. Robert Favreau (Sous la direction de), Histoire de Poitiers, Toulouse, Privat, , 434 p. (ISBN 2-7089-8208-7), p. 136
  18. 1 2 3 Nicolas Mengus, Châteaux forts au Moyen Âge, Rennes, Éditions Ouest-France, , 283 p. (ISBN 978-2-7373-8461-5), p. 213.
  19. 1 2 Fillion-Braguet 2020, p. 174.
  20. Claude Andrault-Schmitt, dans Aurell 2004, p. 102.
  21. Paris 1400, catalogue de l'exposition du musée du Louvre, 2004.
  22. Alain Quella-Villéger (dir), Via Poitiers, une ville, des écrivains, des voyageurs, 1998.
  23. Grégory Vouhé, « Plaidoyer pour le Palais », L’Actualité Poitou-Charentes n° 99, janvier-mars 2013.
  24. Jean-Michel Gouin, « Poitiers : le palais des ducs d'Aquitaine tourne les pages de son histoire (1/8) », La nouvelle République, (lire en ligne).
  25. Traversées/Kimsooja
  26. 1 2 Prouteau 2024.

Voir aussi

Bibliographie

  • Paris 1400, les arts sous Charles VI, catalogue de l'exposition du Musée du Louvre, 2004
  • Martin Aurell (dir.), Aliénor d'Aquitaine, Revue 303, hors-série n° 81, 2004, 248 p.
  • A. de Champeaux, P. Gauchery, Les travaux d'architecture et de sculpture exécutés par Jean de France, duc de Berry, p. 64-71, Gazette archéologique : recueil de monuments pour servir à la connaissance et à l'histoire de l'art antique, année 1887 (lire en ligne)
  • Martin Aurell, Aliénor d'Aquitaine, Souveraine femme, Paris, Flammarion, coll. Grandes Biographies, 2024, 503 p., (ISBN 978-2-0804-6324-1)
  • J.-M. Augustin, Les Grandes Affaires Criminelles de Poitiers, Gestes Éditions, 2005
  • J.-M. Augustin, O. Banchereau, S. Boudaud, P. Carouge, F. Chauvaud, G. Chenard, F. Vigier, D. Veillon, Scènes de Justice en Vienne du Poitou médiéval à la cité judiciaire, La Geste Éditions, 2019
  • F. Autrand, Jean de Berry, l’art et le pouvoir, Fayard, 2000
  • Grégory Vouhé, « Plaidoyer pour le Palais », L’Actualité Poitou-Charentes n° 99, janvier-mars 2013.

Articles connexes

Liens externes

  • Ressource relative à l'architecture :
  • icône décorative Portail de l’architecture et de l’urbanisme
  • icône décorative Portail des monuments historiques français
  • icône décorative Portail du néo-classicisme
  • icône décorative Portail du droit français
  • icône décorative Portail de la Vienne