Rhéologie des solides

| Partie de |
|---|
La rhéologie est une partie de la physique qui étudie la plasticité, l'élasticité, la viscosité et la fluidité caractéristiques des corps déformables. Du grec reo (couler) et logos (étude).
Cet article concerne la rhéologie des solides, c'est-à-dire leur déformation, leur écoulement.
Propriétés mécaniques des solides
Lire l'article déformation élastique en guise d'introduction.
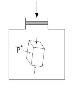
Contrainte et déformation

En physique, l'effort exercé sur une pièce est représenté par la force , exprimée en newtons (N). La variation dimensionnelle est une longueur, exprimée en mètres.
Cependant, ceci dépend de la forme de la pièce. Si l'on s'intéresse aux propriétés du matériau, il faut s'abstraire des dimensions de la pièce. On caractérise donc l'effort par la contrainte et la variation dimensionnelle par la déformation.
- Contrainte
- Si est la surface sur laquelle s'exerce la force , on définit la contrainte
- La surface dépend de la déformation, mais pour les petites déformations, ceci est souvent négligé.
- Déformation
- Si est la longueur initiale de la pièce, alors la déformation rationnelle est l'allongement relatif (sans unité).
- Si la contrainte est faible alors la déformation est faible, donc :
On retrouve alors l'expression de la déformation conventionnelle (voir Courbe conventionnelle/rationnelle).
Propriétés du matériau


Lors de son utilisation, une pièce peut se déformer de manière complexe. Pour permettre l'étude, on considère des déformations modèles simples.
Ces déformations simples permettent de définir des caractéristiques chiffrées du matériau.
- Traction uniaxiale/Compression
- module de Young, noté et exprimé en pascals (Pa) ou plus couramment en MPa ou GPa.
- Lors d'un étirement ou d'un raccourcissement, on constate un élargissement ou une contraction de la pièce, caractérisée par le coefficient de Poisson (sans unité).
- Si , alors est faible par rapport à ; exemples de valeur de coefficient de Poisson :
- : liquide ;
- : caoutchouc ;
- : verre, polymère solide.
- Cisaillement
- module de cisaillement, noté :
- complaisance de cisaillement, notée :
- Flexion
- combinaison de traction, compression et cisaillement.
- Compression isostatique (ou hydrostatique)
- module de compressibilité (bulk modulus) noté ( en anglais) :
Relation entre les modules
On a donc quatre coefficients , , et , et deux relations. On peut alors écrire :
Types d'essais mécaniques
- Essais statiques
- Essais dynamiques : varient en fonction du temps (ou de la fréquence).
Viscoélasticité


La viscoélasticité d'un corps dépend de sa température et du temps. On note en général :
On étudiera alors qu'une de ses deux variables à la fois :
- si on sollicite le solide, on le fera à température constante ;
- si on fait varier la température, on l'étudiera après un temps expérimental fixe.
Ici on étudiera la relaxation qui est un phénomène réversible et détectable, se traduisant par une différence de mobilité moléculaire. Il ne faut pas la confondre avec la transition qui est un changement d'état physique (fusion, cristallisation, transition vitreuse, etc.).
Principe de Boltzmann

Selon Ludwig Boltzmann, l'état de contrainte ou de déformation d'un corps viscoélastique est fonction de toutes les sollicitations appliquées au matériau.
Chaque nouvelle sollicitation contribue de manière indépendante à l'état final.
Les modèles rhéologiques de base
Corps idéalement élastique
- La réversibilité entre contrainte et déformation est parfaite (il n'y a pas d'effet mémoire du matériau).
- Les relations entre contrainte et déformation sont instantanées.
- Les relations entre contrainte et déformation sont linéaires.
Le matériau peut être modélisé en mécanique par un ressort. Il n'y a aucune dissipation d'énergie. En régime dynamique, l'angle de phase entre la contrainte dynamique et la déformation dynamique du corps soumis à une oscillation sinusoïdale est de 0°.
Corps idéalement visqueux
où est la constante de Newton.
On a alors , ici représente la déformation initiale, donc nulle.
On obtient alors .
L'énergie mécanique est totalement dissipée (sous forme de chaleur). Le modèle équivalent en mécanique est celui d'un amortisseur. En régime dynamique, l'angle de phase entre la contrainte dynamique et la déformation dynamique du corps soumis à une oscillation sinusoïdale est de 90°.
Combinaison des modèles
Afin de représenter le comportement viscoélastique d'un matériau, on peut combiner ces deux modèles élémentaires.
Modèle de Maxwell
Le modèle de Maxwell rend compte du comportement viscoélastique d'un matériau mais pas de son comportement viscoplastique.
- à ,
- à ,
Modèle de Voigt
Modèle de Zener
Modèle de Burgers
Dans ce modèle on a les trois composantes :
- élastique avec ;
- viscoélastique avec ;
- viscoplastique avec .
Comportement dynamique
L'analyse mécanique dynamique (AMD), ou spectrométrie mécanique dynamique, est une méthode de mesure de la viscoélasticité. Cette méthode d'analyse thermique permet l'étude et la caractérisation des propriétés mécaniques de matériaux viscoélastiques, tels les polymères.
Étude pratique de la rhéologie des solides
Voir aussi
Articles connexes
- Portail de la physique