Sarah Boone
Sarah Boone
| Naissance | |
|---|---|
| Décès | |
| Nationalité | |
| Activité |
Sarah Boone (Comté de Craven, - New Haven, ) est une inventrice américaine.
Biographie

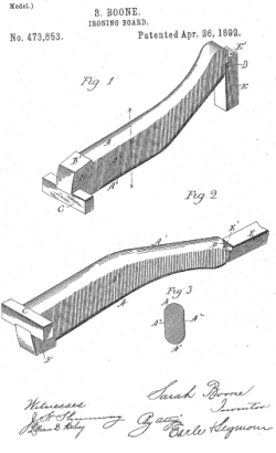
Le , W. Vandenburg et J. Harvey brevètent un modèle de table à repasser[1]. L'engin est relativement lourd et peu pratique. En 1887, Sarah Boone la perfectionne et le brevet est déposé le et accordé le à New Haven, Connecticut. En faisant cela, elle devient la seconde femme afro-américaine à posséder un brevet[2] après Judy W. Reed en 1884[3].
Notes et références
- ↑ (en) Ironing (U.S. Patent 19 390)
- ↑ (en) Who Invented the Ironing Board?
- ↑ (en-US) Daniel Helton, « Sarah Boone (1832-1904) • », (consulté le )
Voir aussi
Bibliographie
Liens externes
- Portail des États-Unis
- Portail des Afro-Américains
- Portail des sciences
- Portail du textile
- Portail des femmes et du féminisme