toe
Conventions internationales
Voir aussi
- TOE sur l’encyclopédie Wikipédia

Références
- Documentation for ISO 639 identifier: toe, SIL International, 2024
Afrikaans
Étymologie
- Étymologie manquante ou incomplète. Si vous la connaissez, vous pouvez l’ajouter en cliquant ici.
Prononciation
- Afrique du Sud (Johannesbourg) : écouter « toe [Prononciation ?] »
Anglais
Étymologie
- Étymologie manquante ou incomplète. Si vous la connaissez, vous pouvez l’ajouter en cliquant ici.
- (Nom 2) Initiales de tonne of oil equivalent.
Nom commun 1

toe
toe \təʊ\ (Royaume-Uni) ou \toʊ\ (États-Unis) (pluriel : toes)
- (Anatomie) Doigt de pied, orteil.
Dérivés
Nom commun 3

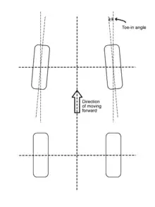
Image of front toe angle 5 degrees (toe in).
toe \təʊ\ (Royaume-Uni) ou \toʊ\ (États-Unis) (pluriel : toes)
- (Automobile) Parallélisme.
Hyponymes
- toe in
- toe out
Dérivés
Verbe
| Temps | Forme |
|---|---|
| Infinitif | to toe \təʊ\ ou \toʊ\ |
| Présent simple, 3e pers. sing. |
toes \təʊz\ ou \toʊz\ |
| Prétérit | toed \təʊd\ ou \toʊd\ |
| Participe passé | toed \təʊd\ ou \toʊd\ |
| Participe présent | toeing \təʊɪŋ\ ou \toʊɪŋ\ |
| voir conjugaison anglaise | |
toe transitif
- (Surtout au football) Frapper avec les doigts de pied.
- (Sens figuré) Suivre de près.
- To toe the line : Ne pas dépasser la limite
Prononciation
- (États-Unis) : écouter « toe [Prononciation ?] »
- Suisse (Genève) : écouter « toe [Prononciation ?] »
- (Australie) : écouter « toe [Prononciation ?] »
Homophones
Breton
Forme de verbe
| Mutation | Forme |
|---|---|
| Non muté | toe |
| Adoucissante | doe |
| Spirante | zoe |
toe \ˈtoːe\
- Troisième personne du singulier de l’imparfait de l’indicatif du verbe teiñ/toiñ.
Anagrammes
Flamand occidental
Étymologie
- Étymologie manquante ou incomplète. Si vous la connaissez, vous pouvez l’ajouter en cliquant ici.
Références
- Hergé, D'aveteurn van Kuiftsje, Et Doenker Ejland, Casterman, 2015, ISBN 9789030327479
Idi
Étymologie
- Étymologie manquante ou incomplète. Si vous la connaissez, vous pouvez l’ajouter en cliquant ici.
Références
- Anonymous. n.d., Idi Organised Phonology Data, page 3
Italien
Forme de verbe
| Voir la conjugaison du verbe togliere | ||
|---|---|---|
| Indicatif | Présent | |
| (noi) toe | ||
toe \ˈtɔe\
- Première personne du singulier de l’indicatif présent de togliere.
Néerlandais
Étymologie
- Étymologie manquante ou incomplète. Si vous la connaissez, vous pouvez l’ajouter en cliquant ici.
Adverbe
toe \Prononciation ?\
Taux de reconnaissance
- En 2013, ce mot était reconnu par[1] :
- 98,1 % des Flamands,
- 99,0 % des Néerlandais.
Prononciation
- (Région à préciser) : écouter « toe [Prononciation ?] »
Références
- Marc Brysbaert, Emmanuel Keuleers, Paweł Mandera et Michael Stevens, Woordenkennis van Nederlanders en Vlamingen anno 2013: Resultaten van het Groot Nationaal Onderzoek Taal, Université de Gand, 15 décembre 2013, 1266 p. → [lire en ligne]
Samoan
Étymologie
- Étymologie manquante ou incomplète. Si vous la connaissez, vous pouvez l’ajouter en cliquant ici.
Références
- Dictionnaires Freelang, Beaumont, 1997–2024 → consulter cet ouvrage
Cet article est issu de Wiktionary. Le texte est sous licence Creative Commons – Attribution – Partage à l’identique. Des conditions supplémentaires peuvent s’appliquer aux fichiers multimédias.