Bain de fusion
Le bain de fusion est la partie de la soudure d'un produit où le métal de base a atteint son point de fusion, et si il y a apport de matière, là où le matériau d'apport pénètre. La formation d'un bain de fusion détermine la réussite du soudage.


Histoire
Le bain de fusion a été décrit pour la première fois par Fouché et Picard alors qu'ils travaillaient avec Soudage et coupage oxygaz (en) en 1903, à la suite de la découverte de l'acétylène par Edmund Davy en 1836.
Propriétés
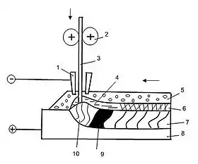
Le bain de fusion s’étend le long du joint et détermine la qualité du soudage.
La zone affectée thermiquement (ZAT) par le bain de fusion comportent plusieurs sections structurelles qui diffèrent par la forme et la structure des grains :
- Zone de fusion incomplète;
- Zone de surchauffe;
- Zone de normalisation;
- Zone de recristallisation incomplète;
- Zone de recristallisation[1];
- Зона синеломкости (« zone bleue » en français).
Fusion incomplète - est dans un état solide-liquide et détermine la qualité du joint soudé. Dans cette zone, la fusion du métal de base avec le métal fondu a lieu. La température dans la zone est supérieure au point de fusion du métal (pour l'acier: 1500°C).
La surchauffe est une zone de la base, un métal très chauffé avec une structure à gros grains et des propriétés mécaniques réduites. Dans cette zone, la formation de structures durcies est possible. Pour l'acier, les températures varient de 1 100°C à 1 500°C.
La normalisation est une zone du métal de base dans laquelle se forme une structure à grains fins avec des propriétés mécaniques élevées. Pour l'acier, la température varie de 930 à 1 100 °C.
La recristallisation incomplète est une zone du métal de base dans laquelle une structure à grains fins se forme autour d'une structure à grains grossiers à la suite de la recristallisation. Pour l'acier, la température varie de 720 à 930°C.
La recristallisation est une partie du métal de base qui se caractérise par la restauration de la forme et de la taille des grains métalliques détruits, préalablement soumis à un traitement sous pression. Pour l'acier, la température varie de 450 à 720°C.
Recuit ou (ru)Синеломкость (« fragilité bleue » en français) - il n'y a pas de changements structurels visibles, mais se caractérise par une diminution des propriétés plastiques. Pour l'acier, la température varie de 200 à 450°C. Pour améliorer les propriétés et la structure du métal fondu dans la ZAT, on peut utiliser le forgeage à chaud du métal fondu et de la partie du métal de base qui ont été chauffées, immédiatement après le soudage. Une autre solution est un traitement thermique général: effectué dans des fours, puis suivi d'un refroidissement lent.
La largeur de la zone affectée thermiquement (ZAT) dépend de la méthode et des modes de soudage et est :
- pour le soudage à l'arc manuel - 3-6 mm ;
- pour du soudage à l'arc submergé - 2-4 mm ;
- pour du soudage MIG-MAG - 1-3 mm ;
- pour le Soudage sous laitier (électroconducteur) (en) - 11-14 mm ;
- pour le Soudage oxygaz (en) - 8-28 mm.
De plus, la largeur de la ZAT augmente avec l'intensité du courant des modes de soudage et diminue avec l'augmentation de la vitesse de soudage.
Lors du soudage en position « plafond », le métal en fusion dans le bain de soudure ne peut s'écouler principalement en raison de sa tension superficielle : pour un soudage de haute qualité, le poids du métal en fusion ne doit pas dépasser cette force. Pour ce faire, il faut réduire la taille du bain de soudure en effectuant des soudages avec des courts-circuits périodiques, permettant au métal fondu de cristalliser partiellement. Des diamètres d'électrode réduits sont utilisés, le courant de soudage est réduit et des électrodes spéciales sont utilisées pour garantir un bain de soudure visqueux.
Notes et Références
- Ouali Naima et Belkessa Brahim, « Comportement microstructurale et électrochimique de soudures en acier inoxydable Lean duplex », CFM 2017 - 23ème Congrès Français de Mécanique, AFM, Maison de la Mécanique, 39/41 rue Louis Blanc - 92400 Courbevoie, congrès français de mécanique, (lire en ligne, consulté le )
Ouvrages
- (ru) Motyakhov M. A. Soudage à l'arc électrique des métaux. M., supérieur école, 1975. Мотяхов М. А. Электродуговая сварка металлов. М., Высш. школа, 1975
- (ru) Rybakov V. M. Soudage à l'arc et au gaz. M., supérieur école, 1981. 256 p. Рыбаков В. М. Дуговая и газовая сварка. М., Высш. школа, 1981
- (ru) Technologie de soudage à l'arc électrique : Manuel / I. V. Gumenyuk, A. V. Ivaskiv, A. V. Gumenyuk. -M. : Certificat, 2006. - 512 Технология электродуговой сварки: Учебник / И. В. Гуменюк, А. В. Иваськив, А. В. Гуменюк . — М .: Грамота, 2006
- (ru) Théorie des procédés de soudage : Manuel. pour les universités à des fins spéciales "Équipement et technologie de production de soudage" / V. N. Volchenko, V. M. Yampolsky, V. A. Vinokurov, etc. ; Éd. V.V. Frolova. -M. : - Ecole Supérieure, 1988. — 559 p. (ISBN 5-06-001473-8)