Bobine de Ruhmkorff
La bobine de Ruhmkorff est un générateur électrique permettant d'obtenir des tensions très élevées (plusieurs milliers ou dizaines de milliers de volts) à partir d'une source de courant continu. Elle a été conçue vers 1850 par Heinrich Daniel Ruhmkorff mécanicien de précision parisien d'origine allemande. Auparavant Charles Grafton Page aux États-Unis et Antoine Masson en France avaient réalisé des appareils similaires. Ruhmkorff apporta à la bobine de Masson les perfectionnements nécessaires pour répondre aux besoins, à la fois du milieu médical et des physiciens, d'une source de courants à très haute tension.
Fonctionnement

Le principe de la bobine de Ruhmkorff est celui d'un transformateur élévateur de tension constitué d'un enroulement primaire P et d'un enroulement secondaire S. Le primaire est constitué de quelques dizaines de spires de fil de cuivre isolé d'un diamètre assez gros (de l'ordre du millimètre) tandis que le secondaire est constitué de plusieurs dizaines voire centaines de milliers de tours de fil très fin (quelques dixièmes de mm). Les deux enroulements sont bobinés autour d'un noyau magnétique N constitué de fils de fer doux réunis en faisceau. Le fait de diviser le noyau permet de limiter les pertes fer par courant de Foucault. Les spires de l'enroulement secondaire doivent être soigneusement isolées entre elles pour éviter le claquage de l'enroulement par surtension suivi de la destruction de l'isolation des spires et formation d'un court-circuit.
Si l'enroulement primaire P est parcouru par un courant variable (un courant continu produit par un accumulateur et commandé par un interrupteur Int), la variation de champ magnétique induit dans l'enroulement secondaire S une tension dont la valeur est proportionnelle au rapport du nombre de spires de S par le nombre de spires de P. Ce rapport de transformation est très grand pour la bobine de Ruhmkorff, ce qui permet d'obtenir des tensions de plusieurs kilovolts. C'est à la coupure du courant (ouverture du circuit primaire) que la tension induite est la plus élevée et produit une étincelle entre les bornes sphériques de l'éclateur Ec.
La formation de l'étincelle se traduit par la formation dans le circuit d'une série d'oscillations électriques amorties dont la période fut calculée en 1853 par William Thomson. Cette décharge oscillatoire s'accompagne de l'émission d'ondes électromagnétiques amorties qui furent étudiées par Hertz en 1887.
Il existe plusieurs types d’interrupteurs. Le trembleur, l’interrupteur à mercure motorisé ou à bascule (de Foucault nom de son inventeur), l’interrupteur électrolytique (ou de Wenhelt nom de son inventeur), il y a aussi les turbines à mercure comme par exemple les modèles de Gaiffe utilisés pour la radiologie médicale.
Le trembleur


Pour produire des étincelles en permanence, il a suffi à Ruhmkorff de découper le courant circulant dans l'enroulement primaire à l'aide d'un trembleur, un système interrupteur mis au point par l'Allemand Christian Ernst Neef. Le principe est le même que celui de la sonnette électro-magnétique :
- premier temps : le courant fourni par l'accumulateur accu passe par le contact c et traverse la bobine P.
- deuxième temps : un champ magnétique se forme dans le noyau qui se comporte alors comme un aimant et attire la palette magnétique m fixée à l'extrémité d'une lame-ressort r fixée au point o.
- troisième temps : la lame ressort s'écarte du contact C et la circulation du courant dans le primaire s'interrompt brutalement. L'étincelle de l'extra-courant de rupture est absorbée par le condensateur cond. Le champ magnétique dans le noyau disparaît.
- quatrième temps : la palette m n'est plus attirée par le noyau, la lame-ressort r revient en contact avec c, le courant peut passer à nouveau.
Le temps séparant deux coupures du circuit est appelé période de découpage. Il dépend de nombreux paramètres (attraction du noyau, raideur du ressort…) et peut être ajusté à l'aide de la vis de réglage V. Il est de l'ordre de la milliseconde, ce qui correspond à une fréquence de découpage de 1000 Hertz.
L'ajout du condensateur aux bornes du contact C a été proposé en 1853 par Hippolyte Fizeau. Les principes décrits ici sont ceux utilisés par la bobine d'allumage d'un moteur à allumage commandé pour produire l'étincelle au niveau des bougies d'allumage.
Émetteur à bobine de Ruhmkorff

En 1902 : depuis le phare du Stiff, essais par Camille Tissot de la station Ouessant TSF avec un récepteur radio à cohéreur et un émetteur à bobine de Ruhmkorff à deux boules. Cette station à une portée radiotélégraphiques de 80 kilomètres avec une flotte de 14 navires en mer et avec Brest.
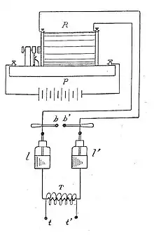
Principe.
Une variation de champ magnétique induit dans l'enroulement secondaire une tension dont la valeur est proportionnelle au rapport du nombre de spires. Ce qui permet d'obtenir une tension de plusieurs kilovolts qui produit une étincelle entre les bornes sphériques de l'éclateur b et b'. La formation de l'étincelle se traduit par la formation d’oscillations électriques dans le circuit capacité l et l' suivie d’une bobine T, et on constate que ce circuit résonateur « TL » est le siège d’oscillations électriques amorties.
Les oscillations électriques sont transférées par les bornes t et t' à une antenne radioélectrique qui permet d'émettre l'onde radio électromagnétique.

- Portail de l’électricité et de l’électronique
- Portail des télécommunications