Conference on Data Systems Languages
Le CODASYL (sigle de Conference On DAta SYstems Languages, en français « Conférence sur les langages de systèmes de traitement de données ») est l'organisme américain de codification des systèmes de bases de données. Il a publié en 1959 les spécifications du langage COBOL. Par la suite, ses travaux entre 1974 et 1981 ont donné naissance au modèle navigationnel de SGBD (opposé au modèle hiérarchique largement promu par IBM).
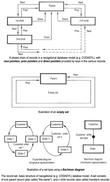
En 1965, le CODASYL a constitué un groupe de travail chargé de développer les extensions du langage COBOL qui permettront de manipuler des données en préservant l'indépendance entre les applications et les périphériques de stockage. La contribution de Charles Bachman revient à la logique de chaines de données et de pointeurs mise notamment en œuvre dans le système IDS.
En 1967, ce groupe de travail s'est rebaptisé Data Base Task Group (en) (DBTG) qui publiait notamment COBOL extensions to handle data bases (extensions de COBOL pour manipuler des données).
En , le DBTG publie alors les premières spécifications du modèle de bases de données réseau qui prendra très vite le nom de modèle de données CODASYL.
Le CODASYL a défini en 1970 les normes de standardisation des Systèmes de Gestion des Bases de Données (SGBD), uniquement mis en œuvre sur les grands systèmes à cette époque. Le langage de manipulation des données était alors exclusivement le COBOL et le databasic. C'est la première norme de base de données décidée sans l'avis d'IBM.
Bases de Données Réseaux versus Bases de Données Navigationnelles

Il existe ainsi deux modèles fondamentaux de bases de données navigationnelles :
- le modèle hiérarchique, à l'origine même des SGBD, rapidement supplanté
- le modèle en réseau, basé sur les travaux du Codasyl et la contribution déterminante de Charles Bachman.
Dans le modèle hiérarchique (système IMS d'IBM ou IDS1 de BULL par exemple), les zones de données et les enregistrements sont liés par des relations parents-enfants où un fils ne peut avoir qu'un père. Cela rend rapidement la structure logique des informations très lourde[2].
Le modèle à réseau autorise un enfant à avoir plusieurs parents (systèmes IDS2 de BULL, IDMS de Culliname…). La structure logique s'en trouve largement simplifiée.
Références
- (en) Jean-Baptiste Waldner, CIM : Principles of Computer Integrated Manufacturing, Chichester, John Wiley & Sons, , 189 p. (ISBN 0-471-93450-X, lire en ligne), p. 47
- Jean-Baptiste Waldner, CIM, les nouvelles perspectives de la production, Paris, Dunod - Bordas, (ISBN 978-2-04-019820-6, présentation en ligne), p. 85