Hélioscope de Herschel
L'hélioscope de Herschel est une lame de verre transparente dont les deux faces ne sont pas parallèles. Il est utilisé en astronomie pour éviter l'échauffement de l'instrumentation lors de l'observation du Soleil.

Principe de fonctionnement
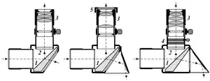
Le principe de l'hélioscope vient du fait que le verre réfléchit environ 4 % de la lumière incidente[1]. La lame de verre est donc utilisée en réflexion vitreuse, c'est-à-dire que seule la lumière réfléchie par le verre est utilisée pour l'observation astronomique. C'est pour éviter la formation d'une double image que les deux faces ne sont pas parallèles. L'angle formé par les deux faces planes doit être suffisamment accentué pour empêcher la formation d'une image de fond, celle-ci subissant alors une réflexion totale.
L'hélioscope de Herschel n'est pas un filtre solaire, il ne protège pas l'œil du risque de brûlure de la rétine. Pour l'observation du Soleil à travers un télescope ou une lunette astronomique, il doit donc être impérativement combiné avec un filtre solaire, l'hélioscope servant uniquement à protéger le filtre du risque d'éclatement. La dispersion de chaleur n'est pas non plus suffisante pour protéger un appareil photographique pour l'astrophotographie solaire.
Nota : Un montage similaire consiste à utiliser un prisme, au lieu d'une lame de verre, voire trois prismes comme l'avait fait la firme Clavé en son temps. Il est possible que ce système reconnu comme le meilleur par les observateurs, associait la polarisation vitreuse sous l'angle de Brewster à la faible (4 % x 4 % x 4 %) réflexion vitreuse.
Il est aussi possible d'utiliser un pentaprisme non aluminié ou désaluminié. Dans ce cas le coefficient de réflexion totale est seulement de 0,16 %.
Les principaux fabricants sont aujourd'hui les firmes Baader et Intes.
Précautions particulières
Le prisme de Herschel ou hélioscope ne peut être utilisé qu'avec un réfracteur, (lunette astronomique) car il y a des risques de dommages sur un newton ou un maksutov. En effet le miroir secondaire peut éclater sous l'effet de la chaleur. On doit éviter les lunettes de type petzval pour les mêmes raisons : les lentilles correctrices-réductrices peuvent être détériorées par la chaleur. Le prisme ne peut être utilisé qu'avec des filtres (filtre ND 3.0 et polarisant ou continuum) placé sur l'oculaire ou tout au moins entre le prisme et l'oculaire. Faute d'étude sérieuse, il est difficile de savoir si un filtre infra-rouge est utile ou non après le prisme. Il faut noter enfin qu'il existe deux types de prisme : l'un laisse filer la chaleur et la lumière par une ouverture disposée à l'opposé de l'oculaire (il y a un risque pour les tiers) d'autres laissent la chaleur se disperser sur une plaque de céramique (donc filtre sans ouverture plus sûr).
En respectant ces consignes le prisme est sans doute l'un des moyens d'observations du soleil en lumière blanche les plus agréables et fiables.
Galerie
Notes et références
- La quantité de lumière réfléchie est en fait plus proche de 5 %, car le prisme de Herschel est généralement utilisé à 45° d'incidence, le coefficient de réflexion global du verre donné par la loi de Fresnel augmentant avec l'angle d'incidence.
- Catalogue Zeiss Jena 19?? sur gallica
- Comptes rendus hebdomadaires des séances de l’Académie des sciences, tome 046, 1858, pp. 133-135
- Portail de l’astronomie
