Phosphoglycéride
Un phosphoglycéride — également appelé phosphatide, glycérophospholipide (GPL), phosphoglycérolipide ou encore phosphoacylglycérol — est un phospholipide constitué de deux résidus d'acides gras estérifiant un résidu glycérol lui-même estérifié par un résidu phosphate, cet ensemble formant un acide phosphatidique lié, à travers une liaison phosphodiester, à l'alcool (groupe hydroxyle) d'une molécule polaire telle que :
- la sérine, donnant une phosphatidylsérine ;
- l'éthanolamine, donnant une phosphatidyléthanolamine ;
- la choline, donnant une phosphatidylcholine ;
- l'inositol, donnant un phosphatidylinositol ;
- un autre résidu glycérol, donnant un phosphatidylglycérol ;
- voire un autre acide phosphatidique, donnant une cardiolipine.


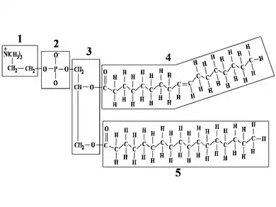
1. choline,
2. phosphate,
3. glycérol,
4. acide gras insaturé en C2 du résidu,
5. acide gras saturé en C1 du résidu glycérol.
Les phosphoglycérides forment, avec les sphingomyélines, la classe des phospholipides.
Structure
Les phosphoglycérides sont des lipides organisés autour d'un résidu de glycérol-3-phosphate, à la différence des triglycérides qui ne contiennent pas de groupe phosphate mais sont au contraire formés de trois résidus d'acides gras estérifiant un résidu glycérol. Contrairement aux triglycérides, les phosphoglycérides sont des molécules clairement amphiphiles, c'est-à-dire constituées d'une tête polaire (hydrophile) et de queues aliphatiques (hydrophobes) :
- le résidu glycérol, le groupe phosphate et le résidu polaire — souvent ionisé positivement — constituent la « tête » hydrophile de la molécule,
- les résidus d'acides gras constituent les « queues » hydrophobes de la molécule.
Fonction
Comme tous les phospholipides, les phosphoglycérides s'organisent, en milieu aqueux, afin de minimiser les contacts entre les molécules d'eau et les queues aliphatiques de leurs molécules, ce qui conduit à des structures en micelle, en liposome ou en bicouche lipidique :



C'est la base des structures vivantes, qui s'organisent toujours à partir d'une membrane cellulaire séparant l'intérieur de la cellule (soit le milieu intracellulaire), du milieu extracellulaire.
Exemples
- Les plasmalogènes sont un type de phosphatidyléthanolamines et de phosphatidylcholines dans lesquels la chaîne latérale aliphatique liée au carbone 1 du glycérol appartient à un alcool gras et non à un acide gras. Ces molécules sont des composants clés des membranes cellulaires des muscles et des nerfs.
- Les phosphatidates sont des précurseurs biosynthétiques des phosphoglycérides. Ils en dérivent également sous l'action de la phospholipase D, de la diacylglycérol kinase ou de la 1-acylglycérol-3-phosphate O-acyltransférase.
- Les phosphatidylcholines, ou lécithines, abondantes dans le jaune d'œuf (mais aussi présentes dans le cerveau et le tissu nerveux), dont les acides gras sont typiquement l'acide stéarique (saturé) et l'acide oléique (insaturé).
- Les cardiolipines sont présents dans les membranes des bactéries et constituent jusqu'à 20 % des lipides de la membrane interne des mitochondries chez les eucaryotes, où elles assurent plusieurs fonctions essentielles, allant de la stabilisation de la structure quaternaire de la cytochrome c oxydase et de la coenzyme Q-cytochrome c réductase aux processus de fusion de bicouches lipidiques et d'apoptose en passant pas l'imperméabilité aux ions H+ dans le cadre de la phosphorylation oxydative.
- Portail de la chimie
- Portail de la biochimie
- Portail de la biologie cellulaire et moléculaire
- Portail de la médecine